首页 最新 热门 推荐

  • 首页
  • 最新
  • 热门
  • 推荐

云计算2024/12/14笔记 ——模型、TCP、UDP

  • 25-02-15 00:40
  • 3403
  • 9074
blog.csdn.net

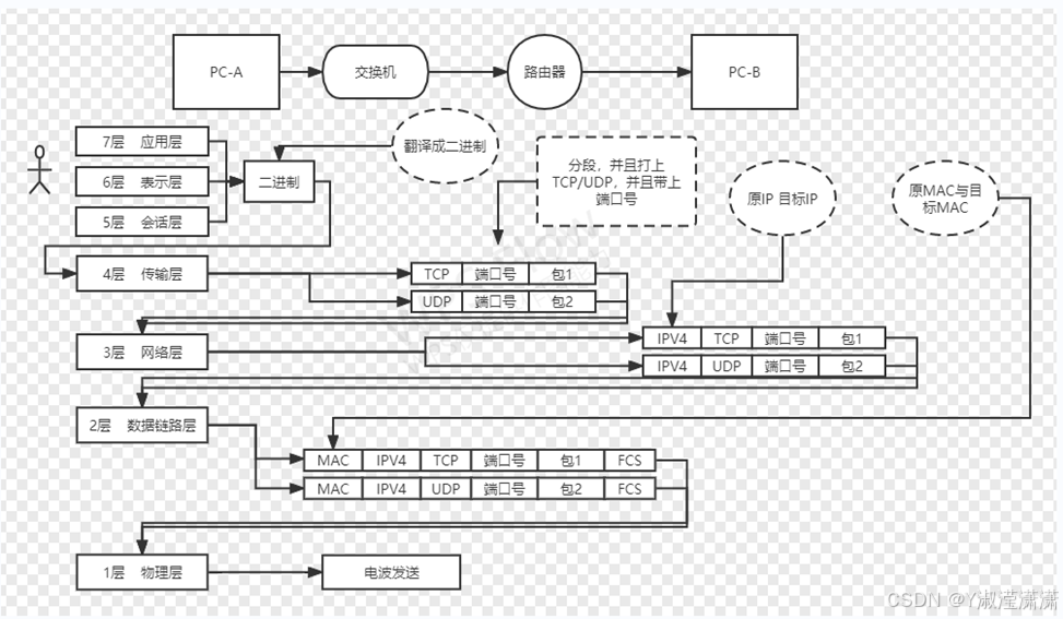
一.1979年的OSI七层参考模型

1.模型

(第七层)应用层:人机交互----抽象语言-----编码

(第六层)表示层:编码----二进制

(第五层)会话层:提供会话号(同软件不同进程)

(第四层)传输层:TCP协议  UDP协议 

(第三层)网络层:提供大量的互联网协议, ---IP地址

(第二层)数据链路层:介质访问控MAC+逻辑链路层LLC

【逻辑链路层LLC:对数据进行校验,只保障数据的完整性,同时增加FCS(帧校验序列)】

(第一层)物理层:“算盘”

2.TCP协议  UDP协议两个基本工作

 ①分段【受到二层MTU的限制,MTU(最大传输单元):默认1500字节】 

②提供端口号(端口号:0-65535  不同软件区分不同进程 

※1-1023注明端口,1024-65535高端口/动态端口)

二. TCP/IP 协议簇

⚠此TCP非上面提到的TCP协议,此IP与网络层的IP也毫无关系。

1.最早的互联网

1969年美国的阿帕网

1969-1979年中间的十年阿帕网是利用TCP/IP协议簇来运转的。

2.现如今仍广泛使用TCP/IP协议簇的原因

 ①上三层(应用层,表示层,会话层)的工作,APP可以直接完成,造成了下四层的工作负担太大,OSI模型分布不均。

②分层太多,耗费链路资源,减少了发送效率。

3.

※当今使用最多的是TCP/IP对等模型

三.PDU(协议数据单元)

对不同层级封装的数据单位进行标识(单位名称)

①应用层:数据报文

②传输层:数据段

③网络层:数据包

④数据链路层:数据帧

⑤物理层:比特流 

例  交换机里的数据 称之为数据帧

四.TTL(生存周期)

每经过一台路由器默认TTL值减一,当TTL值为零时默认该数据包死亡,路由器将不再转发。

【TTL值最大255 ;TTL常见值64和128】

五.以太网Ⅱ型帧  

前导符                   目标地址                 源地址            类型               数据                       校验核

  ⬇                                                             ⬇

用于标定方向                                       MAC地址

六.封装/解封装

七.常见的协议

缩写

基于

协议名称

HTTP              

tcp 80

超文本传输协议

HTTPS(HTTP+SSL)

tcp 443

安全传输协议

FTP 

tcp 20/21

文件传输协议

TFTP

udp 69

简单文件传输协议

Telnet   

tcp 23  

远程登录协议

Dns     

udp/tcp

域名解析协议

DHCP  

  udp67/68 

动态主机配置协议

八.传输层协议:TCP   UDP 

1.TCP(传输控制协议/面向连接的可靠协议)

在完成传输层的基本工作的同时,要需要保证数据传递的严密性。

2.实现面向连接的方式

3次握手及4次挥手   建立端到端的虚链路

3.常见字段

①SYN=发起一次链接,并告知自身状态 

②ACK=确认

③RST=重连  

④TCP=严重错误且重连  

⑤FIN=断开链接

⑥PSH=加急接受

⑦URG=紧急指针 

4.TCP的可靠性

4种可靠传输机制---确认  排序  重传  流控(窗口滑动机制)

               

九.UDP(用户报文协议/非面向链接的不可靠协议)仅完成传输层的基本工作  

2.TCP与UDP的对比

十.TCP的分段 和 IP的分片  

1.IP分片的原因

受到二层MTU的限制。

2.TCP的分段

MSS值(基于双方的MTU进行协商得出)

注:本文转载自blog.csdn.net的Y淑滢潇潇的文章"https://blog.csdn.net/Y_P_W/article/details/144504253"。版权归原作者所有,此博客不拥有其著作权,亦不承担相应法律责任。如有侵权,请联系我们删除。
复制链接
复制链接
相关推荐
发表评论
登录后才能发表评论和回复 注册

/ 登录

评论记录:

未查询到任何数据!
回复评论:

分类栏目

后端 (14832) 前端 (14280) 移动开发 (3760) 编程语言 (3851) Java (3904) Python (3298) 人工智能 (10119) AIGC (2810) 大数据 (3499) 数据库 (3945) 数据结构与算法 (3757) 音视频 (2669) 云原生 (3145) 云平台 (2965) 前沿技术 (2993) 开源 (2160) 小程序 (2860) 运维 (2533) 服务器 (2698) 操作系统 (2325) 硬件开发 (2491) 嵌入式 (2955) 微软技术 (2769) 软件工程 (2056) 测试 (2865) 网络空间安全 (2948) 网络与通信 (2797) 用户体验设计 (2592) 学习和成长 (2593) 搜索 (2744) 开发工具 (7108) 游戏 (2829) HarmonyOS (2935) 区块链 (2782) 数学 (3112) 3C硬件 (2759) 资讯 (2909) Android (4709) iOS (1850) 代码人生 (3043) 阅读 (2841)

热门文章

116
云平台
关于我们 隐私政策 免责声明 联系我们
Copyright © 2020-2025 蚁人论坛 (iYenn.com) All Rights Reserved.
Scroll to Top